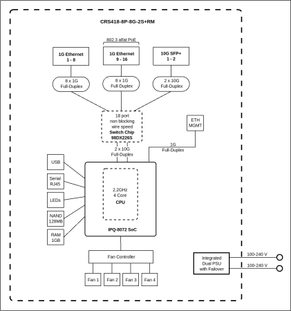
CRS418-8P-8G-2S+RM сочетает в себе 16 портов Gigabit Ethernet (с 1 по 8 из них с выходом PoE!), два слота 10G SFP+, порты USB 3 и мощный четырёхъядерный процессор 2,2 ГГц в прочном и компактном корпусе для монтажа в стойку. Кроме того, имеется гигабитный порт управления с прямым подключением к процессору.
Это серьёзное обновление для тех, кто хочет заменить множество устройств одним интеллектуальным многозадачным устройством, созданным для маршрутизации, высокоскоростных аплинков и удобной организации кабелей. Независимо от того, подключаете ли вы точки доступа и камеры видеонаблюдения, используете ли быстрый NAS с несколькими современными рабочими станциями или управляете маршрутизацией в офисе среднего размера, CRS418 справится со всем этим легко и бюджетно!
CRS418-8P-8G-2S+RM — это больше, чем просто коммутатор. Это настоящий чемпион по многозадачности, который обеспечит бесперебойную работу вашей сети и чистоту в серверной.
| Общие характеристики | |
| Бренд | MikroTik |
| Проводные, оптические интерфейсы | 16xGigabit, 2xSFP+ |
| Операционная система | Mikrotik RouterOS Level 5 |
| Архитектура | ARM 64bit |
| Процессор | IPQ-8072A, 2208 МГц, 4 ядра |
| Чип коммутации | 98DX226S |
| Память ОЗУ | 1GB |
| Диск для данных | 128MB на чипе памяти NAND |
| Гарантия | 1 год |
| USB порты | USB 3.0 |
| Питание через IEC | 110-240 V AC, C14, два встроенных блока питания |
| Энергопотребление | 150 Вт |
| Исполнение корпуса | Внутрикомнатное для стойки 19'' |
| Диапазон рабочих температур | -20°C до +65°C |
| Проводные интерфейсы | |
| Количество портов Gigabit Ethernet | 17 |
| Количество портов PoE out | 8 |
| Количество портов 10G SFP+ | 2 |
| Порты PoE-out | |
| Питание PoE out | 802.3af/at 8 портов |
| PoE out Максимальный ток на один порт | 1000 mA до 30 V, 566 mA выше 30 V |
| PoE out Максимальный суммарный ток | 5 А |
Для покупки товара в нашем интернет-магазине выберите понравившийся товар и добавьте его в корзину. Далее перейдите в Корзину и нажмите на «Оформить заказ» или «Быстрый заказ».
Когда оформляете быстрый заказ, напишите ФИО, телефон и e-mail. Вам перезвонит менеджер и уточнит условия заказа. По результатам разговора вам придет подтверждение оформления товара на почту или через СМС. Теперь останется только ждать доставки и радоваться новой покупке.
Оформление заказа в стандартном режиме выглядит следующим образом. Заполняете полностью форму по последовательным этапам: адрес, способ доставки, оплаты, данные о себе. Советуем в комментарии к заказу написать информацию, которая поможет курьеру вас найти. Нажмите кнопку «Оформить заказ».
Оплачивайте покупки удобным способом. В интернет-магазине доступно 3 варианта оплаты:
-
1. По счёту в любом банке или платежном терминале с учетом комиссионных, взимаемых финансовым оператором.
2. Электронными средствами платежа через эквайринг Альфа Банка или платёжного интегратора PayMaster.
Доступны следующие способы оплаты:
Система Быстрых Платежей (СБП) - Банковская карта (VISA, MasterCard, МИР, Maestro)
- WebMoney
- Альфа-Банк
- ВТБ
- Почта России
- ПромСвязьБанк
- Банк Русский Стандарт
Доставка по России осуществляется в рамках действующих контрактов с транспортными операторами СДЭК, BoxBerry, Деловые Линии.
Заказчик оборудования вправе самостоятельно и за свой счет организовать доставку оборудования с нашего склада.
Пункты выдачи товаров находятся во всех городах России. Вы можете забрать товар самовывозом.
